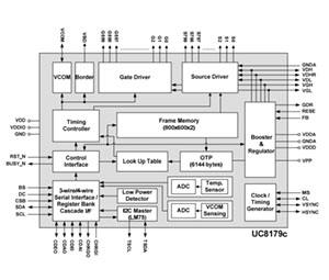
UC8179 PDF资料

UC8179 PDF Datasheet 英文资料下载

UC8179 PDF/datasheet 资料下载

  • UC8179英文资料下载:UC8179.PDF(datasheet)

UC8179 PDF/datasheet 预览

UC8179 PDF Datasheet 英文资料下载
相关下载

相关下载

  • UC8151C英文资料下载:UC8151C(datasheet)
  • UC8151D英文资料下载:UC8151D(datasheet)
  • UC8176英文资料下载:UC8176(datasheet)