SSD1677 PDF资料

SSD1677 PDF Datasheet 英文资料下载

SSD1677 PDF/datasheet 资料下载

  • SSD1677英文资料下载:SSD1677.PDF(datasheet)

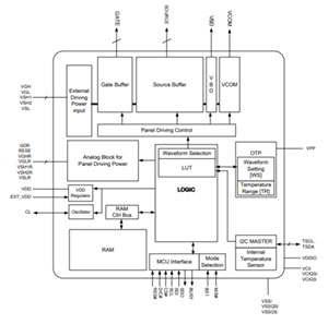
SSD1677 PDF/datasheet 预览

SSD1677 PDF Datasheet 英文资料下载
相关下载

相关下载

  • SSD1619A英文资料下载:SSD1619A(datasheet)
  • SSD1680英文资料下载:SSD1680(datasheet)
  • SSD1680A英文资料下载:SSD1680A(datasheet)
  • SSD1681英文资料下载:SSD1681(datasheet)