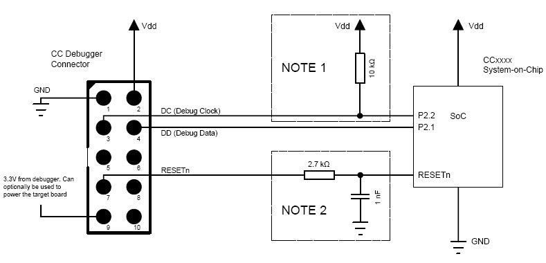
调试下载接口:
| 引脚序号 |
引脚名称 |
相关说明 |
1 |
GND |
地线 |
2 |
VDD |
目标板电源正端 |
3 |
DC |
调试-时钟线 |
4 |
DD |
调试-数据线 |
5 |
CSn |
下载-片选线(低电平有效) |
6 |
SCLK |
下载-时钟线 |
7 |
RESETn |
复位线 |
8 |
MOSI |
下载-数据输出线 |
9 |
3.3V |
仿真器3.3V电压输出(调试器向目标板供电) |
10 |
MISO |
下载-数据输入线 |
IAR Embedded Workbench For C8051、SmartRF Flash Programmer、SmartRF Studio环境下的连接:

说明:
如果希望调试器为目标板供电,可以将目标板的电源正接入PIN9。一般不推荐这么使用,以免目标板误供电,导致损坏仿真器,除非用户“心中有数”。
Note1:
早期版本的部分SOC(如:CC2430、CC2510、CC1110)需增加一个外部上拉电阻。
最新版本的所有SOC内部均有上拉电阻,所以,不需要该上拉电阻。
Note2:
复位线对噪声敏感,这会导致无故复位芯片。(尤其当连接线较长的时候)建议增加一个外部RC滤波器。
请查阅各SOC的datasheet,查看他的复位电路设计要求。
SmartRF Packet Sniffer环境下的连接:
|